Электромагнит КМП-6 220в
![]() | Электромагниты тормозные постоянного тока серии КМП…М предназначены для использования в качестве электромагнитного привода различных механизмов, которым требуется поступательное перемещение рабочего органа при значительном усилии (клапаны, задвижки и т.п.). По способу воздействия на исполнительный механизм электромагниты изготавливаются тянущего исполнения. Вывод катушки через штепсельный разъем ШР20. Климатическое исполнение У3, Т3, УХЛ4 по ГОСТ 15150. Отличительной особенностью электромагнитов серии КМП…М по сравнению с серии КМП…А является уменьшенные габариты и увеличенная степень защиты. Электромагниты КМП 2М и КМП 4М рекомендуются для замены устаревших электромагнитов КМП 2А; ВМ 12 и КМП 4А; ВМ 14. Степень защиты IP40 по ГОСТ 14255. ТУ3458-012-00213575-98 |
Технические характеристики
| Наименование параметра | Значение параметра для типоисполнений | |
|---|---|---|
| КМП - 2М | КМП - 4М | |
| Номинальное напряжение постоянного тока, В | 24, 110, 220, 440 | |
| Тяговое усилие при номинальном ходе якоря, не менее, Н при: ПВ = 25% ПВ = 40% ПВ = 100% | 115 80 35 | 370 300 120 |
| Номинальный ход якоря, мм: | 40 | 80 |
| Время срабатывания при номинальном ходе якоря, не более, с | 0,4 | 1,5 |
| Потребляемая мощность, не более, Вт, при: ПВ = 25% ПВ = 40% ПВ = 100% | 300 190 75 | 650 450 170 |
| Масса якоря, не более, кг | 1,5 | 4,0 |
| Масса, не более, кг | 10,5 | 38,0 |
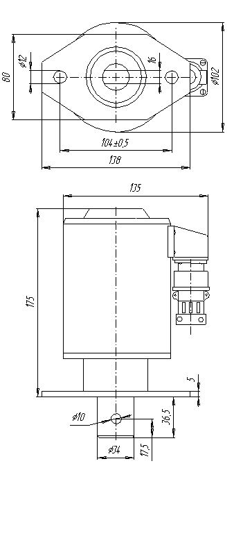
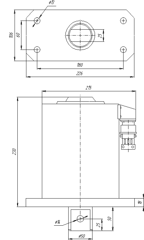
Габаритные, установочные и присоединительные размеры электромагнитов КМП
КМП-2М![]() | КМП-4М![]() |
Структура условного обозначения электромагнитов КМП
КМП - 4 М 1 - 30 - У3
| КМП | Обозначение серии электромагнита |
|---|---|
| - | Разделительный знак. |
| 4 | Цифра. Условное обозначение габарита: 2; 4; 6 |
| М | Буква. Условное обозначение модернизации: М - модернизированный. |
| 1 | Цифра. Условное обозначение режима работы (относительной продолжительности включения, %): 1 – ПВ = 25%; 2 – ПВ = 40%; 3 - ПВ = 100%. |
| - | Разделительный знак. |
| 30 | Цифры. Условное обозначение степени защиты по ГОСТ 14255: 30 - IP30 . |
| - | Разделительный знак. |
| УЗ | Буква и цифры. Условное обозначение климатического исполнения по ГОСТ 15150: У3; Т3. |
Наши квалифицированные специалисты обязательно вам помогут.
Задать вопрос
Дополнительная вкладка, для размещения информации о магазине, доставке или любого другого важного контента. Поможет вам ответить на интересующие покупателя вопросы и развеять его сомнения в покупке. Используйте её по своему усмотрению.
Вы можете убрать её или вернуть обратно, изменив одну галочку в настройках компонента. Очень удобно.
- Рекомендуем
-
Арматура светосигнальная
-
Выключатель автоматический
- Выключатель автоматический серии Schneider
- Выключатель автоматический серии А
- Выключатель автоматический серии АВ2М
- Выключатель автоматический серии АЕ
- Выключатель автоматический серии АП
-
Выключатель автоматический серии ВА
- Выключатель автоматический ВА 47-29 2 полюса
- Выключатель автоматический ВА 47-29 3 полюса
- Выключатель автоматический ВА 47-29 ПЭТ
- Выключатель автоматический ВА 04-36
- Выключатель автоматический ВА 21-29
- Выключатель автоматический ВА 50-41
- Выключатель автоматический ВА 50-43
- Выключатель автоматический ВА 51-25, ВА 51Г-25
- Выключатель автоматический ВА 51-35, ВА 52-35
- Выключатель автоматический ВА 51-39, ВА 52-39
- Выключатель автоматический ВА 52-37, ВА 52-38
- Выключатель автоматический ВА 57-31
- Выключатель автоматический ВА 57-35, ВА 57ф-35
- Выключатель автоматический ВА 57-39
- Выключатель автоматический серии ДЭК
- Выключатель автоматический серии Э (электрон)
- Выключатель автоматический серии АВМ
-
Выключатель конечный (путевой)
-
Выключатель пакетный
-
Гидротолкатель
-
Звонки
-
Изолента
-
Изоляторы
- Изоляторы армированные фарфоровые
-
Изоляторы неармированные фарфоровые
- Покрышки для высоковольтных вводов
- Покрышки для выключателей воздушных
- Изоляторы для выключателей и разных установок
- Изоляторы и покрышки для конденсаторов
- Изоляторы проходные для трансформаторных вводов
- Изоляторы проходные подстанционные
- Изоляторы для концевых кабельных муфт
- Изоляторы для силовых трансформаторов
- Изоляторы для электрофильтров
- Изоляторы для электротранспорта
- Изоляторы для пусковых сопротивлений электровозов
- Изоляторы для комплектных распределительных устройств
- Изоляторы для турбогенераторов
- Колодки для печей серии ПЭТ
- Изоляторы для разных установок
- Изоляторы для радио и связи
- Трубки для предохранителей
- Изоляторы для электролизера
- Изоляторы и покрышки для конденсаторов
- Изоляторы керамические электротехнические термостойкие
- Низковольтные изоляторы
-
Инструмент
-
Кабель, провод, тара
- Витая пара (Кабель компьютерный)
- Кабель бронированный АВБбШв, ВБбШв, КВБбШв
- Кабель водопогружной
- Кабель гибкий экранированный КГВЭВ, КГВЭВнг
- Кабель городской телефонной связи ТППэп
- Кабель контрольный КВВГ, КВВГнг, КВВБГ,КВВГзнг
- Кабель радиочастотный РК
- Кабель сварочный КОГ1, ПУН
- Кабель сигнально-блокировочный СБВГ
- Кабель силовой ААШв
- Кабель силовой гибкий, негорючий КПГСН
- Кабель силовой с пластмассовой изоляцией ВВГ, АВВГ
- Кабель силовой с поясной изоляцией NYM
- Кабель силовой с резиновой изоляцией ВРГ
- Кабель силовой с резиновой изоляцией КГ, Кгхл
- Кабель силовой шланговый, гибкий РПШ
- Кабель управления КУПЭВ
- Провод автомобильный
- Провод АППВ
- Провод взрывной
- Провод МКЭШ
- Провод ПАЛ, АС
- Провод прогревочный
- Провод с поливинилхлоридной изоляцией АПВ,ПВ, ППВ
- Провод самонесущий изолированный СИП
- Провод телефонный, витая пара ТРП, ТРВ, П-274м
- Провод установочный плоский ПУНП, ПУГНП
- Провод шланговый ПВС, ПРС, ШВВП, ППВ
- Тара
- Эмальпровод ПЭТВ-1, ПЭТВ-2, ПСДКТ, ПЭТ-155
-
Катушки к контакторам, пускателям и магнитам
-
Клеммы, колодки
-
Кнопка, пост кнопочный
-
Командоаппарат, контроллер
-
Контактор
-
Контакты для контакторов и пускателей
-
Лампа
- Датчик движения, индикатор
- Лампа галогенная HL, HS, HR, JSDR, JCD
- Лампа кварцево-галогенная
- Лампа люминесцентная ЛБ, ЛД, TLD
- Лампа металлогалогенная
- Лампа накаливания Б 220, SA, РН
- Лампа накаливания декоративная SB, SC, SR
- Лампа накаливания местного освещения МО
- Лампа ртутная ДРЛ
- Лампа энергосберегающая Ecola
- Лампа энергосберегающая KK, CE
- Стартер, дроссель, трансформ.
-
Лифтовое оборудование
-
Метизы, крепеж
-
Переключатели
- Прочее
-
Пускатель электромагнитный
-
Разрядник
-
Разъем кабельный
-
Реле и датчики
-
Рубильники, разъединители
-
Рудничное
-
Светильник
- Люстры, бра, торшеры, настольные лампы
- Ночник, часы
- Плафон, патрон-основание
- Прожектор
- Светильник Viromax
- Светильник VITO. LUNA. LINE
- Светильник акцентного освещения
- Светильник ВЗГ
- Светильник встраиваемый потолочный
- Светильник люминесцентный ЛПО,ЛСП
- Светильник мебельный
- Светильник накладной потолочный
- Светильник НББ, НСП, ПСХ, НПП
- Светильник наружного освещения РКУ (консольный)
- Фонарь
- Строительные услуги
-
Счетчик электроэнергии
-
Теплые полы
-
Токоприемники
-
Тормоз колодочный
-
Трансформатор тока
- Датчик тока ДТ-0,66
- Трансформатор тока Т 0,66
- Трансформатор тока ТЛ-10-I У3
- Трансформатор тока ТЛК-10
- Трансформатор тока ТЛМ-10
- Трансформатор тока ТЛШ-10 У3
- Трансформатор тока ТЛШ-10-1 У3
- Трансформатор тока ТЛШ-10-5 У3
- Трансформатор тока ТНШ 0,66 У3
- Трансформатор тока ТНШЛ 0,66 У2
- Трансформатор тока ТОЛ-10 УХЛ2.1
- Трансформатор тока ТОЛ-10-I-1 (-2) У2
- Трансформатор тока ТОЛ-10-I-3 (-4) У2
- Трансформатор тока ТОЛ-10-I-5 (-6) У2
- Трансформатор тока ТОЛ-10-I-7 (-8) У2, 3-х обмот.
- Трансформатор тока ТОЛ-35-III-II УХЛ1
- Трансформатор тока ТОЛК-10 05.1
- Трансформатор тока ТОЛК-6 05.1
- Трансформатор тока ТОП 0,66 У3
- Трансформатор тока ТПЛ-10-М У2
- Трансформатор тока ТПЛ-20 УХЛ2
- Трансформатор тока ТПЛ-35 УХЛ2
- Трансформатор тока ТПЛК-10 У3
- Трансформатор тока ТПОЛ-10 У3
- Трансформатор тока ТПОЛ-10-1 У3
- Трансформатор тока ТПОЛ-10-3 У3
- Трансформатор тока ТФЗМ
- Трансформатор тока ТШЛ 0,66 У3
- Трансформатор тока ТШЛ-10 УТ3
- Трансформатор тока ТШЛ-20-I УХЛ2
- Трансформатор тока ТШЛП-10 УТ3
- Трансформатор тока ТШП 0,66 У3
- Трансформатор тока нулевой последовательности
- Трансформатор ТСЗИ
- Трансформатор ТСМ
-
Трансформатор, стабилизатор
- Автотрансформатор АОСН
- Лабораторный трансформатор
- Силовой трансформатор
-
Стабилизатор
- Трансформатор напряжения
-
Трансформатор ОСМ
- Трансформатор понижающий ОСМ1 63 Вт
- Трансформатор понижающий ОСМ1 100 Вт
- Трансформатор понижающий ОСМ1 160 Вт
- Трансформатор понижающий ОСМ1 250 Вт
- Трансформатор понижающий ОСМ1 400 Вт
- Трансформатор понижающий ОСМ1 630 Вт
- Трансформатор понижающий ОСМ1 1000 Вт
- Трансформатор понижающий ОСМ1 1600 Вт
- Трансформатор понижающий ОСМ1 2500 Вт
- Трансформатор понижающий ОСМ1 4000 Вт
- Трансформатор понижающий ОСМ1 5000 Вт
- Трансформатор ОСО
-
Трансформаторная подстанция
-
Троллеедержатель
-
Труба гофрированная
-
Тумблер
- Удлинитель, тройник, вилка
- Установочные
- Шильдики
- Щетки для электродвигателей
- Щеткодержатели к электродвигателям
-
Щитовая продукция
- Вводно-распределительное устройство ВРУ1
- Пункт распределительный ПР11
- Пункт распределительный ПР8000
- Шильдики, наклейки
- Шины и комплектующие к щитам
- Шкаф распределительный ШР11, ШРЭ
- Шкаф распределительный ШРС-1
- Щит аварийного переключения на резерв
- Щит металлический (корпус)
- Ящик с понижающим трансформатором
- Ящик управления
-
Электродвигатели
-
Преобразователи частоты
-
Устройства плавного пуска
-
Дополнительное оборудование
-
Пульты управления
-
Аксессуары
-
Опции
-
Электромагнит
- Электронагреватель
- Элементы питания
-
Ящик с рубильником
-
Металлообработка
- Перемотка двигателей
Раздел не найден.












































































