Будьте всегда в курсе!
Узнавайте о скидках и акциях первым
|
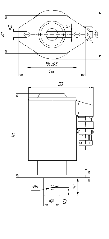
Электромагниты тормозные постоянного тока серии КМП…М предназначены для использования в качестве электромагнитного привода различных механизмов, которым требуется поступательное перемещение рабочего органа при значительном усилии (клапаны, задвижки и т.п.). По способу воздействия на исполнительный механизм электромагниты изготавливаются тянущего исполнения. Вывод катушки через штепсельный разъем ШР20. Климатическое исполнение У3, Т3, УХЛ4 по ГОСТ 15150. Отличительной особенностью электромагнитов серии КМП…М по сравнению с серии КМП…А является уменьшенные габариты и увеличенная степень защиты. Электромагниты КМП 2М и КМП 4М рекомендуются для замены устаревших электромагнитов КМП 2А; ВМ 12 и КМП 4А; ВМ 14. Степень защиты IP40 по ГОСТ 14255. ТУ3458-012-00213575-98 |
| Наименование параметра | Значение параметра для типоисполнений | |
|---|---|---|
| КМП - 2М | КМП - 4М | |
| Номинальное напряжение постоянного тока, В | 24, 110, 220, 440 | |
|
Тяговое усилие при номинальном ходе якоря, не менее, Н при: ПВ = 25% ПВ = 40% ПВ = 100% |
115 80 35 |
370 300 120 |
| Номинальный ход якоря, мм: | 40 | 80 |
| Время срабатывания при номинальном ходе якоря, не более, с | 0,4 | 1,5 |
|
Потребляемая мощность, не более, Вт, при: ПВ = 25% ПВ = 40% ПВ = 100% |
300 190 75 |
650 450 170 |
| Масса якоря, не более, кг | 1,5 | 4,0 |
| Масса, не более, кг | 10,5 | 38,0 |
КМП-2М
|
КМП-4М
|
| КМП |
Обозначение серии электромагнита |
|---|---|
| - | Разделительный знак. |
| 4 |
Цифра. Условное обозначение габарита: 2; 4; 6 |
| М |
Буква. Условное обозначение модернизации: М - модернизированный. |
| 1 |
Цифра. Условное обозначение режима работы (относительной продолжительности включения, %): 1 – ПВ = 25%; 2 – ПВ = 40%; 3 - ПВ = 100%. |
| - | Разделительный знак. |
| 30 |
Цифры. Условное обозначение степени защиты по ГОСТ 14255: 30 - IP30 . |
| - | Разделительный знак. |
| УЗ |
Буква и цифры. Условное обозначение климатического исполнения по ГОСТ 15150: У3; Т3. |
Арматура светосигнальная
Выключатель автоматический
Выключатель автоматический серии Schneider
Выключатель автоматический серии А
Выключатель автоматический серии АВ2М
Выключатель автоматический серии АЕ
Выключатель автоматический серии АП
Выключатель автоматический серии ВА
Выключатель автоматический серии ДЭК
Выключатель автоматический серии Э (электрон)
Выключатель автоматический серии АВМ
Выключатель конечный (путевой)
Выключатель пакетный
Гидротолкатель
Звонки
Изолента
Изоляторы
Инструмент
Кабель, провод, тара
Витая пара (Кабель компьютерный)
Кабель бронированный АВБбШв, ВБбШв, КВБбШв
Кабель водопогружной
Кабель гибкий экранированный КГВЭВ, КГВЭВнг
Кабель городской телефонной связи ТППэп
Кабель контрольный КВВГ, КВВГнг, КВВБГ,КВВГзнг
Кабель радиочастотный РК
Кабель сварочный КОГ1, ПУН
Кабель сигнально-блокировочный СБВГ
Кабель силовой ААШв
Кабель силовой гибкий, негорючий КПГСН
Кабель силовой с пластмассовой изоляцией ВВГ, АВВГ
Кабель силовой с поясной изоляцией NYM
Кабель силовой с резиновой изоляцией ВРГ
Кабель силовой с резиновой изоляцией КГ, Кгхл
Кабель силовой шланговый, гибкий РПШ
Кабель управления КУПЭВ
Провод автомобильный
Провод АППВ
Провод взрывной
Провод МКЭШ
Провод ПАЛ, АС
Провод прогревочный
Провод с поливинилхлоридной изоляцией АПВ,ПВ, ППВ
Провод самонесущий изолированный СИП
Провод телефонный, витая пара ТРП, ТРВ, П-274м
Провод установочный плоский ПУНП, ПУГНП
Провод шланговый ПВС, ПРС, ШВВП, ППВ
Эмальпровод ПЭТВ-1, ПЭТВ-2, ПСДКТ, ПЭТ-155
Катушки к контакторам, пускателям и магнитам
Клеммы, колодки
Кнопка, пост кнопочный
Командоаппарат, контроллер
Контакты для контакторов и пускателей
Лампа
Лифтовое оборудование
Метизы, крепеж
Переключатели
Пускатель электромагнитный
Разрядник
Разъем кабельный
Реле и датчики
Рубильники, разъединители
Рудничное
Светильник
Счетчик электроэнергии
Теплые полы
Токоприемники
Тормоз колодочный
Трансформатор тока
Датчик тока ДТ-0,66
Трансформатор тока Т 0,66
Трансформатор тока ТЛ-10-I У3
Трансформатор тока ТЛК-10
Трансформатор тока ТЛМ-10
Трансформатор тока ТЛШ-10 У3
Трансформатор тока ТЛШ-10-1 У3
Трансформатор тока ТЛШ-10-5 У3
Трансформатор тока ТНШ 0,66 У3
Трансформатор тока ТНШЛ 0,66 У2
Трансформатор тока ТОЛ-10 УХЛ2.1
Трансформатор тока ТОЛ-10-I-1 (-2) У2
Трансформатор тока ТОЛ-10-I-3 (-4) У2
Трансформатор тока ТОЛ-10-I-5 (-6) У2
Трансформатор тока ТОЛ-10-I-7 (-8) У2, 3-х обмот.
Трансформатор тока ТОЛ-35-III-II УХЛ1
Трансформатор тока ТОЛК-10 05.1
Трансформатор тока ТОЛК-6 05.1
Трансформатор тока ТОП 0,66 У3
Трансформатор тока ТПЛ-10-М У2
Трансформатор тока ТПЛ-20 УХЛ2
Трансформатор тока ТПЛ-35 УХЛ2
Трансформатор тока ТПЛК-10 У3
Трансформатор тока ТПОЛ-10 У3
Трансформатор тока ТПОЛ-10-1 У3
Трансформатор тока ТПОЛ-10-3 У3
Трансформатор тока ТФЗМ
Трансформатор тока ТШЛ 0,66 У3
Трансформатор тока ТШЛ-10 УТ3
Трансформатор тока ТШЛ-20-I УХЛ2
Трансформатор тока ТШЛП-10 УТ3
Трансформатор тока ТШП 0,66 У3
Трансформатор тока нулевой последовательности
Трансформатор ТСЗИ
Трансформатор ТСМ
Трансформатор, стабилизатор
Силовой трансформатор
Трансформатор напряжения
Трансформатор ОСМ
Трансформатор ОСО
Трансформаторная подстанция
Троллеедержатель
Труба гофрированная
Тумблер
Щитовая продукция
Ящик с понижающим трансформатором
Электродвигатели
Преобразователи частоты
Устройства плавного пуска
Дополнительное оборудование
Пульты управления
Аксессуары
Опции
Электромагнит
Ящик с рубильником
Металлообработка
Раздел не найден